Medical, Healthcare & Wellness

    September 2019
    The Future of Healthcare – Is Technology Changing it?
    Many readers might know that the US is ranked 37th in the world for quality of medical care by the CDC, yet we pay more than twice of what the next country pays. How can we spend so much and get so little? It’s certainly not due to the lack of technology.  Recently, I went for my annual checkup and my doctor
    . . . Learn More
    Date:
    09/30/2019
    Detecting Your Heart Rate

    Click image to enlarge

    Figure 1: Primary ECG signals (source Maxim Integrated – Design Guide How to Measure Biopotential ECG Using a Chest Strap)

    Smart watches and wearable fitness trackers have become must-have replacements for the humble watch. Whatever our exercise regime, whether daily or weekly, our wearable device is capable of tracking our heart rate continuously, from resting to an intensive workout. Monitoring the heart rate also allows other da
    . . . Learn More
    Date:
    09/30/2019
    The Human Body: Technology's Harshest Environment

    Click image to enlarge

    Figure 1: The start line of the Badwater Ultramarathon, at Badwater Basin, which marks the lowest elevation in North America.

    The human body withstands a multitude of harsh conditions, from high temperatures to chilling winds, and from submersion in water to rigorous exercise. Our bodies enable us to satisfy our yearnings for adventure, while helping us survive in constantly evolving environments. Also, thanks to the inventiveness of the hu
    . . . Learn More
    Date:
    09/30/2019
    Economic Benefits of Regenerative Electronic Loads

    Click image to enlarge

    Figure 1. The classic “bathtub curve” is often used to describe the failure rates of electronic devices

    Switch-mode power supplies used in data centers, industrial equipment, medical devices and other critical applications are typically subjected to burn-in operation at full load over an extended period to root out early failures and ensure reliable operation over the supply’s rated lifetime. (Figure 1.) The tradition
    . . . Learn More
    Date:
    09/30/2019
    Do We Really Need a New Safety Standard?

    Figure 1: IEC/EN 62368-1 is not a merge of the two standards IEC/EN 60065 and IEC/EN 60950 but a completely new one introducing a new way of working

    Safety regulations have been in place for decades in the power industry and as we know only too well, all have been through lots of revisions. And although each revision has made them more stringent and tailored to our businesses, we have become familiar with designing products to conform to latest versions. So
    . . . Learn More
    Date:
    09/30/2019
    Technology Can Help Take the Strain Off Doctors
    Welcome to PSD's October dynamic content. The “Special Focus” is on the subject of technology for medical, healthcare and wellness applications. It is a subject that affects us all and new technologies will make a profound difference for many more people in the near term. In the developed work, most countries hav
    . . . Learn More
    Date:
    09/30/2019
    Building Healthier and More Efficient People
    Baseball is a haven for stats geeks – small wonder I love it so much. Nearly every play, action, and movement can be quantified with a value. And recently, sabermetrics – or the empirical analysis of baseball – has gone far beyond the Moneyball era’s market inefficiencies. The modern game seeks to build be
    . . . Learn More
    Date:
    09/30/2019
    Innovative high-power, high-frequency transformer
    Murata’s innovative and patented pdqb winding technology makes it possible to construct high frequency transformers of up to and over 400 kW that can operate at frequencies as high as 50 kHz. The pdqb winding technique overcomes the skin and proximity effects as well as other high frequency losses associated w
    . . . Learn More
    Date:
    09/26/2019
    High reliability 80W DC/DC converter with 10 year warranty
    Packaged in an industry standard 2x1 inch, six sided, shielded metallic case, the MGF80 series has been designed to Cosel’s strict criteria for high performance and reliability, contributing to the company’s world class quality with a failure rate of below 30 parts-per-million (ppm). All components are sele
    . . . Learn More
    Date:
    09/26/2019
    Technology enhances and simplifies design of 75 to 150W outputs
    The SA modules are available with 5V /15A, 12V /12.5A, 15V /10A and 24V /6.25A outputs and offer a cost-effective solution for low power output requirements. The SA module’s patented loop control design uses a digital controller and TDK-Lambda developed algorithms. Phase mode control provides higher stability ac
    . . . Learn More
    Date:
    09/26/2019
    Business Investment Platform Launched for Batteries
    The EBA reconfirms that the business size of the European battery value chain will represent more than 250B€ annually, by 2025. Designed to bridge the gap between financial institutions and businesses, the BIP will shorten time to investment and substantially reduce the associated risk for both parties by
    . . . Learn More
    Date:
    09/26/2019
    Highly efficient 150W & 200W approved external PSUs
    Typical efficiencies for ALM150 models reach 93%, and 92% for the ALM200 models. All of the new PSUs meet Energy Efficiency Level VI and consume less than 0.15W in standby mode. For medical applications, the PSUs are approved to ANSI/AMMI ES60601-1, ANSI/AMMI HA60601-1-11, EN/IEC60601-1 and EN/IEC60601-1-11. Bot
    . . . Learn More
    Date:
    09/26/2019
    EMC components: Extended range of power line chokes
    The new components are available in three different core shapes with different rated currents and inductance values, delivering great design flexibility. The B82116B* rod core chokes cover rated currents of 10 A, 21 A and 25 A and offer inductance values of 1.8 μH, 3.3 μH and 3.4 μH. Both B82116S* mushroom core
    . . . Learn More
    Date:
    09/26/2019
    New integrated point-of-load regulator increases efficiency
    It is a fully integrated and highly efficient device in two versions (IR3826AM for 16 A and IR3826M for 23 A) for applications such as netcom router and switches, datacom, telecom base stations, server and enterprise storage. The voltage regulator can operate from an input voltage of 12 V (5 V to 17 V) and provide up
    . . . Learn More
    Date:
    09/26/2019
    LED drivers deliver high-current stability in portable devices
    Key features include independently controlled output currents configured through an I2C-compatible interface and the ability to combine two devices (with different device identification addresses) to drive four LEDs up to 6A for quad-channel applications. The AL3644 is offered in chip-scale packaging and combines
    . . . Learn More
    Date:
    09/26/2019
    Active current sharing added to BMR490 DC-DC converter
    The current sharing capability enables two or more converters to be used in parallel for demanding datacom applications, thus delivering higher power on a single rail and improving redundancy. Up to six BMR490 converters may be used in parallel. When used in combination with OR-ing, this increases redundancy,
    . . . Learn More
    Date:
    09/26/2019
    Analog Devices ADF437x Synthesizers, Now at Mouser
    The ADF4371 delivers one of the highest frequency synthesizers in the industry today, offering the widest continuous RF output range available — 62 MHz to 32 GHz — while the ADF4372 operates at 62 MHz to 16 GHz for designs that do not require the higher frequency. Analog Devices’ ADF4371 and ADF4372 microwave wide
    . . . Learn More
    Date:
    09/26/2019
    TSR-WI Series – New 0.6 and 1A POL converters
    Covering the majority of standard bus- and battery voltages this POL converter line is a versatile solution for many applications in distributed power systems where different input voltages have to be handled. Being able to use the same converter in many different situations effectively reduces the bill of mater
    . . . Learn More
    Date:
    09/26/2019
    RS Components adds robust TDK-Lambda power supply series
    The cost-effective RWS-B series of AC-DC industrial power supplies comprises 10 models, each coming with an isolated 5V 1A standby voltage option. This latter feature makes the series suitable for markets including industrial, communications, test and measurement, LED signage equipment, and alternative-energy ap
    . . . Learn More
    Date:
    09/26/2019
    Surface-mount isolated DC/DC converters maximise flexibility
    The converters deliver a space-saving solution for bus isolation and general industrial power applications. These open-frame surface-mount modules are available with standard isolation rating of 1kV/second or in a high-voltage 3kV/second version. Customers can choose a nominal input voltage of 5V with unregu
    . . . Learn More
    Date:
    09/26/2019
    Digi-Key signs global distribution partnership with Directed Energy
    This new partnership adds to the more than 8.7 million products available from more than 800 manufacturers through Digi-Key. Directed Energy provides ready-to-use modules for driving laser diodes as well as applications requiring a high voltage pulse. Directed Energy's modules allow users to focus on their e
    . . . Learn More
    Date:
    09/26/2019
    Rugged wide-range input 6/10W power modules
    The DTE06 and DTE10 DC-DC converters provide 6W and 10W of power and offer a 4:1 input range, giving a wide tolerance for fluctuating supplies. With nominal inputs of 12/24VDC and 24/48VDC the series cover inputs between 9.0VDC and 75.0VDC. The devices are supplied fully potted in chassis mount format with screw ter
    . . . Learn More
    Date:
    09/26/2019
    TTI Adds All Sensors to Global Line Card
    Fort Worth, Texas – TTI, Inc., has announced today the company has entered into a North America distribution agreement with All Sensors Corporation, an Amphenol company. All Sensors is an industry leader in the design and manufacturing of ultra-low pressure sensors. Lew LaFornara, TTI Vice President, Suppl
    . . . Learn More
    Date:
    09/25/2019
    MLFA AEC-Q200 Compliant MELF Expands Value Range
    RALEIGH, NC – Stackpole's MLFA AEC-Q200 compliant MELFs are now available in an expanded value range of 1 ohm to 3.4Meg ohm. The MLFA offers power ratings of 0.3W in the 0102 package size, 0.4W in the 0204, and 1W in the 0207 size. Tolerances down to 0.1% and TCR as low as 15 ppm are available for a limited value ra
    . . . Learn More
    Date:
    09/23/2019
    1000 W AC-DC Enclosed Power Supplies
    Santa Clara, CA - Bel Power Solutions announced the ABE1000 Series and MBE1000 Series of enclosed power supplies, which are ideal for industrial (ABE Series) and medical (MBE Series) applications and available in a variety of single output voltages. The ABE1000 Series features a wide universal AC input range of 8
    . . . Learn More
    Date:
    09/19/2019
    Miniaturizing Medical Imaging, Sensing Technology

    Scientists have used a microchip to map the back of the eye for disease diagnosis. The interference technology used in the microchip has been around for a little while. This is the first time technical obstacles have been overcome to fabricate a miniature device able to capture high quality images.

    WASHINGTON, D.C. -- Scientists in Christine Hendon's and Michal Lipson's research groups at Columbia University, New York, have used a microchip to map the back of the eye for disease diagnosis. The interference technology, like bat sonar but using light instead of sound waves, used in the microchip has been ar
    . . . Learn More
    Date:
    09/18/2019
    LDO Linear Regulator can Help Double Battery Life
    DALLAS - Texas Instruments (TI) introduced an ultra-low-power low-dropout (LDO) linear voltage regulator with the industry’s lowest quiescent current (IQ) of sub-25 nA – one-tenth that of competing ultra-small devices. The new regulator features low IQ control at light loads even in dropout conditions, allo
    . . . Learn More
    Date:
    09/17/2019
    New Health Monitors are Flexible and Graphene-Enabled

    Flexible and transparent bracelet that uses graphene to measure heart rate, respiration rate and blood pulse oxygenation continuously.

    New technological devices are prioritizing non-invasive tracking of vital signs not only for fitness monitoring, but also for the prevention of common health problems such as heart failure, hypertension, and stress related complications, among others. Wearables based on optical detection mechanisms are proving an
    . . . Learn More
    Date:
    09/13/2019
    Flash Memory Solutions Provide Code and Data Storage
    SAN CARLOS, Calif. — Alliance Memory announced that the company has bolstered its product offering with a new line of 5V parallel NOR Flash memory products in boot and uniform sectored architectures. Available in densities from 1M to 16M, the devices offer access times of 55ns to enable fast, low-latency read sp
    . . . Learn More
    Date:
    09/12/2019
    Open Source Initiative for Wearable Sensor Algorithms

    This is Geoffrey Gill, President, Shimmer Americas.

    CAMBRIDGE, MA - Shimmer Research announced the launch of a healthcare industry open source initiative for wearable sensor algorithms. The initiative is being co-founded by Shimmer, Dr. Vincent van Hees, author of the GGIR software and algorithms for movement sensor calibration, sensor wear detection, and signal ag
    . . . Learn More
    Date:
    09/12/2019
    ATS Services Provide Cooling Answers for Digi-Key Customers
    NORWOOD, MA – Advanced Thermal Solutions, Inc. (ATS) is now providing design engineering services for companies doing business with leading electronic components distributor Digi-Key Electronics, through their Design Services Provider network. ATS offers comprehensive thermal analysis and design services
    . . . Learn More
    Date:
    09/11/2019
    600 W AC-DC and DC-DC Convection-Cooled Power Supplies
    Bel Power Solutions announced the ACC600 Series and MCC600 Series of convection cooled open frame power supplies which are ideal for industrial (ACC Series) and medical (MCC Series) applications and available in a variety of single output voltages. The ACC600 Series features a wide universal AC input range of 8
    . . . Learn More
    Date:
    09/05/2019
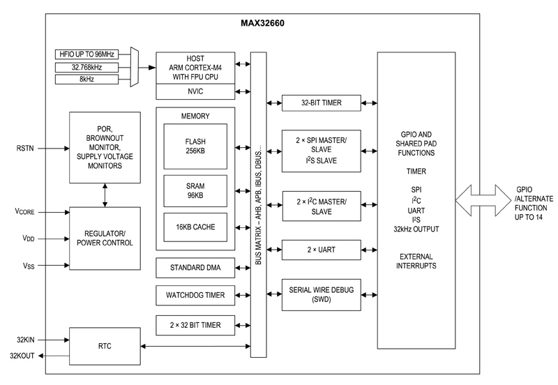
    Wearable Medical Devices Need Sophisticated Power Management

    Click image to enlarge

    Figure 1: MAX32660 block diagram. (Source: Maxim Integrated)

    Ultra-portable wearable monitoring devices allow patients with long-term and chronic illnesses to integrate their monitoring with their daily lives, allowing a high degree of care to be delivered with more convenience than ever before. However, powering these devices for long periods without resorting to a bulky ba
    . . . Learn More
    Date:
    09/04/2019
    Battery Charger with Industry's Lowest Termination Current
    DALLAS – Texas Instruments (TI) introduced a new switching battery charger integrated circuit (IC) that supports a termination current of 20 mA. Compared to competing devices, which typically support a termination current higher than 60 mA, TI’s BQ25619 enables 7% higher battery capacity and longer run time. Th
    . . . Learn More
    Date:
    09/03/2019
    Huge Technology Investment is Not Short of Critics
    As well as writing about technology, I try to keep up with the latest news from the sector. Personally, I’m more interested in the technology itself, rather than the business side of things, but I also try keep up with that side when I can. This month, one article caught my eye, in fact it made me do a double ta
    . . . Learn More
    Date:
    09/03/2019
    Electronics Test and Measurement Market
    The general-purpose electronics test equipment segment includes oscilloscopes, signal generators, digital multimeters, logic analyzers, spectrum analyzers, Bit Error Rate Testers (BERT), Vector Network analyzers, power meters, electronic counters, modular instrumentation, Automated Test Equipment (ATE), and po
    . . . Learn More
    Date:
    09/03/2019
    Archive

    Power Systems Design

    146 Charles Street
    Annapolis, Maryland 21401 USA

    Power Systems Design

    Power Systems Design is a leading global media platform serving the power electronics design engineering community. It delivers in-depth technical content, industry news, and product insights to engineers and decision-makers developing advanced power systems and technologies.

    Published 12× per year across North America and Europe, Power Systems Design is distributed through online and fully digital editions, complemented by eNewsletters, webinars, and multimedia content. The platform covers key areas including power conversion, semiconductors, renewable energy, automotive electrification, AI power systems, and industrial applications—supporting innovation across the global electronics industry.